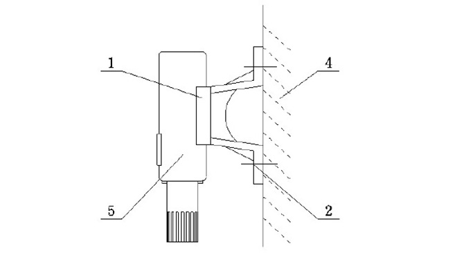
一种挂装式温湿度记录仪 属于温湿度监控技术领域 ;所要解决的技术问题是 :提供一种安装维护方便、测量准确的温湿度监控记录仪 ;采用的技术方案是 :安装支架的两端设置有安装孔,安装支架的顶部设置有挂钩式第一卡扣,螺栓安装在安装孔中将安装支架固定于墙面上,温湿度监控记录仪的背部设置有挂钩式第二卡扣 ;第一卡扣和第二卡扣配合将温湿度监控记录仪挂装在安装支架上 ;本实用新型适用于图书馆、档案管等需要温湿度监测的场所。 其特征在于 :安装支架(1)的两端设置有安装孔(2),安装支架(1)的顶部设置有挂钩式第一卡扣(3),螺栓安装在安装孔(2)中将安装支架(1)固定于墙面(4)上 ;温湿度监控记录仪(5)的背部设置有挂钩式第二卡扣 ;第一卡扣(3)和第二卡扣配合将温湿度监控记录仪(5)挂装在安装支架(1)上。

所要解决的技术问题是 :提供一种安装维护方便、测量准确的温湿度监控记录仪。本实用新型所采用的技术方案是 :一种挂装式温湿度监控记录仪,其特征在于 :安装支架的两端设置有安装孔,安装支架的顶部设置有挂钩式第一卡扣,螺栓安装在安装孔中将安装支架固定于墙面上 ;温湿度监控记录仪的背部设置有挂钩式第二卡扣 ;第一卡扣和第二卡扣配合将温湿度监控记录仪挂装在安装支架上。本实用新型与现有技术相比具有的有益效果是 :本实用新型采用挂装式卡扣安装固定,安装、维护方便 ;采用固定的安装支架,可以保证温湿度监控记录仪上面的传感器与墙面有一定的距离,在测量环境温湿度的时候有效避免了建筑物墙体对传感器的影响,本实用新型结构简单、实用,成本较低。