北京堃堃科技有限公司LOGO

售前 18612819170
售后 13644726781

专业温湿度记录仪生产厂家北京堃堃科技有限公司联系方式

售前 18612819170
售后 13644726781

北京市东城区王府井大街北100号华腾商务楼

info@keepkeep.cn

温湿度记录仪主机研发资料

您所在的位置:堃堃首页资料中心温湿度记录仪主机研发资料

可监控温湿度的仪器

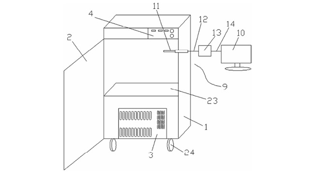
可监控温湿度的仪器 包括柜体、柜门,所述柜体内安装有控湿主机、与控湿主机连接的控制面板,所述控湿主机由两个阀门、置于两个阀门之间的吸湿模组、连接两个阀门的形状记忆合金弹簧组成,所述形状记忆合金弹簧上套设有加热环,所述柜体上安装有温湿度记录仪,所述温湿度记录仪与一电脑连接。本发明控湿范围为 1-60%RH,不受外界温差影响,省电、无声、零耗材,符合能源节约及环境要求,分子筛可以循环使用,节省了能源,降低了生产成本,可以实时监控柜体内的温湿度,并在电脑上读取和收集完整的温湿度数据。 其特征在于 :所述柜体内安装有控湿主机、与控湿主机连接的控制面板,所述控湿主机由两个阀门、置于两个阀门之间的吸湿模组、连接两个阀门的形状记忆合金弹簧组成,所述形状记忆合金弹簧上套设有加热环,所述柜体上安装有温湿度记录仪,所述温湿度记录仪与一电脑连接。所述温湿度记录仪包括温湿度探头、通过串口线与温湿度探头连接的温湿度传感器,所述温湿度传感器通过串口线与所述电脑连接。所述吸湿模组包括模壳、设在模壳内的散热片、加热片、分子筛,所述模壳上开设有模孔,所述加热片、加热环与所述控制面板连接。所述加热片为 PTC 加热片。所述控湿主机设置有上盖、下盖,所述上盖设置有吸湿孔,所述下盖设置有排湿孔。


可监控温湿度的仪器


采用的技术方案为 :一种可监控温湿度的防潮柜,包括柜体、柜门,所述柜体内安装有控湿主机、与控湿主机连接的控制面板,所述控湿主机由两个阀门、置于两个阀门之间的吸湿模组、连接两个阀门的形状记忆合金弹簧组成,所述形状记忆合金弹簧上套设有加热环,所述柜体上安装有温湿度记录仪,所述温湿度记录仪与一电脑连接。可监控温湿度的防潮柜进一步包括所述温湿度记录仪包括温湿度探头、通过串口线与温湿度探头连接的温湿度传感器,所述温湿度传感器通过串口线与所述电脑连接。可监控温湿度的防潮柜进一步包括所述吸湿模组包括模壳、设在模壳内的散热片、加热片、分子筛,所述模壳上开设有模孔,所述加热片、加热环与所述控制面板连接。可监控温湿度的防潮柜进一步包括所述加热片为 PTC加热片。可监控温湿度的防潮柜进一步包括所述控湿主机设置有上盖、下盖,所述上盖设置有吸湿孔,所述下盖设置有排湿孔。可监控温湿度的防潮柜进一步包括所述柜体内安装有层板。可监控温湿度的防潮柜进一步包括所述柜体底端安装有万向轮。